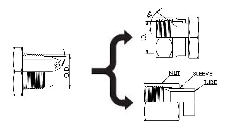
อุปกรณ์ข้อต่อท่อยานยนต์นี้มักพบได้ในแอพพลิเคชั่นทั่วไปในยานยนต์อุปกรณ์และพันธมิตร มันเป็นประเภทของการบีบอัดที่ใช้สำหรับกับท่อโลหะอุปกรณ์ทั้งหมดได้รับการออกแบบและผลิตด้วยสไตล์เปลวไฟ 45 องศาอุตสาหกรรมเครื่องทำความเย็นและเครื่องปรับอากาศมักจะใช้การเชื่อมต่อ 45 เปลวไฟ
อะแดปเตอร์ที่เหมาะสมยานยนต์จะใช้กับท่อโลหะที่มีที่นั่งวูบวาบซึ่งปกติจะเกิดขึ้นในการทำงานเย็นน็อตเปลวไฟเพื่อกดดันปลายที่นั่งหลอดเปลวไฟลงในปลายอะแดปเตอร์เปลวไฟสำหรับการปิดผนึกโลหะ
มาตรฐานของอุปกรณ์การบีบอัดยานยนต์คือ SAE J512
ยานยนต์อุปกรณ์เปลวไฟคว่ำ, อุปกรณ์, อุปกรณ์ท่อน้ำมันเชื้อเพลิงยานยนต์, อุปกรณ์สูญญากาศยานยนต์, อุปกรณ์ทองเหลืองยานยนต์, อุปกรณ์ท่อน้ำมันเชื้อเพลิงดีเซล, อุปกรณ์การบีบอัดสายเชื้อเพลิง

ชายกระทู้ OD & PITCH | DASH | ชายกระทู้ OD | ID เธรดหญิง | ขนาดหลอด | ||
นิ้ว - ทีพีไอ | มิลลิเมตร | นิ้ว | มิลลิเมตร | นิ้ว | นิ้ว | |
5/16 - 24 | -05 | 7.9 | 0.31 | 6.8 | 0.27 | 1/8 |
3/8 - 24 | -06 | 9.5 | 0.38 | 8.4 | 0.33 | 3/16 |
7/16 - 20 | -07 | 11.1 | 0.44 | 9.9 | 0.39 | 1/4 |
1/2 - 20 | -08 | 12.7 | 0.50 | 11.4 | 0.44 | 5/16 |
5/8 - 18 | -10 | 15.9 | 0.63 | 14.2 | 0.56 | 3/8 |
3/4 - 16 | -12 | 19.1 | 0.75 | 17.5 | 0.69 | 1/2 |
7/8 - 14 | -14 | 22.2 | 0.88 | 20.6 | 0.81 | 5/8 |
1 1/16 - 14 | -17 | 27.0 | 1.06 | 24.9 | 0.98 | 3/4 |
ป้ายกำกับยอดนิยม: อะแดปเตอร์ฟิตติ้งยานยนต์, จีน, ผู้ผลิต, ผู้จำหน่าย, กำหนดเอง, ทองเหลือง, swagelok, Parker, Stauff, Brennan, สแตนเลส
















